7203AWDB
MORE +
CLOSE +

NSK 7203AWDB

Matched Angular Contact Ball Bearings

(BRAND):NSK
(Availability):In Stock

Detailed data of

7203AWDB

Designations

7203AWDB

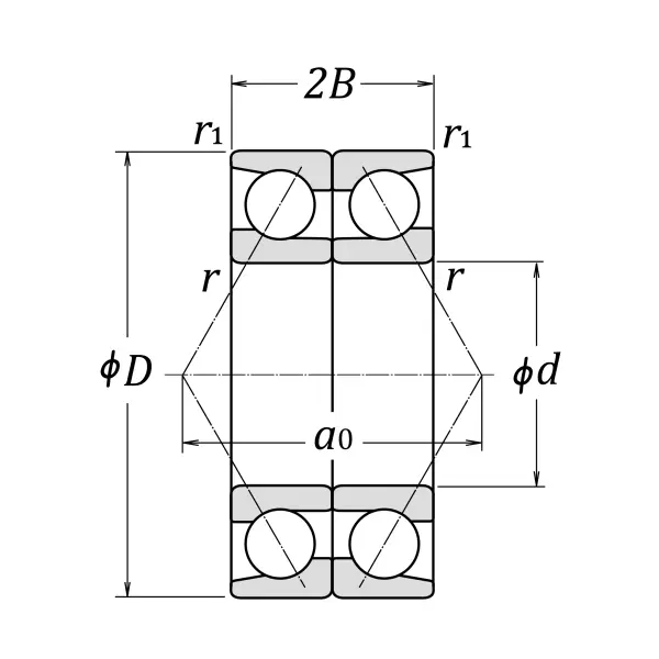
Boundary Dimensions

d 17 mm Bore diameter
D 40 mm Outside diameter
2B 24 mm Width 2B
r (min.) 0.6 mm Chamfer dimension
r1 (min.) 0.3 mm Chamfer dimension

Basic Load Ratings

Cr 19300 N Basic dynamic load rating
C0r 12000 N Basic static load rating

Speeds

Grease 13000 min-1 Grease lubrication
Oil (Oil-bath) 17000 min-1 Oil-bath lubrication

a0 28.5 mm Load center spacings

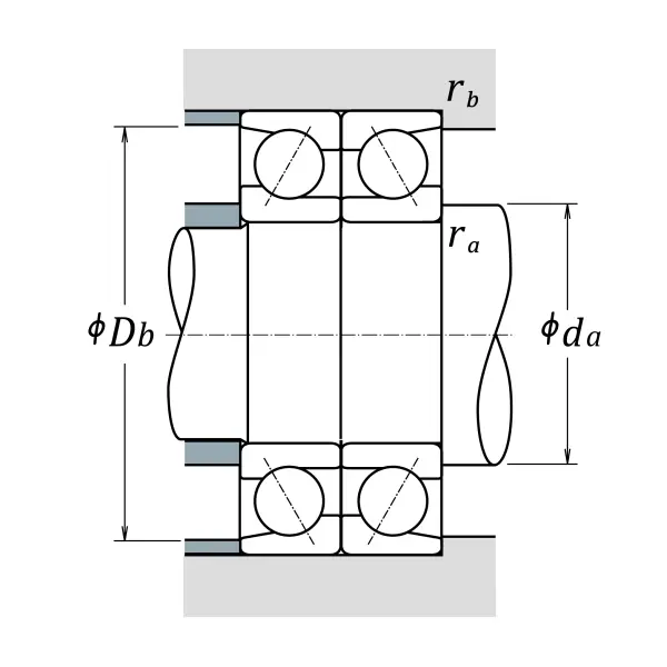
Dimensions

da (min.) 22 mm Diameter of shaft abutment
rb (max.) 0.3 mm Radius of fillet
Db (max.) 37.5 mm Diameter of housing abutment
ra (max.) 0.6 mm Radius of shaft or housing fillet

Similar to product

7203AWDB