7303AWDB
MORE +
CLOSE +

NSK 7303AWDB

Matched Angular Contact Ball Bearings

(BRAND):NSK
(Availability):In Stock

Detailed data of

7303AWDB

Designations

7303AWDB

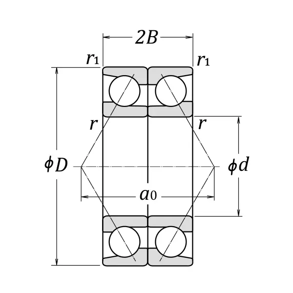
Boundary Dimensions

d 17 mm Bore diameter
D 47 mm Outside diameter
2B 28 mm Width 2B
r (min.) 1 mm Chamfer dimension
r1 (min.) 0.6 mm Chamfer dimension

Basic Load Ratings

Cr 28500 N Basic dynamic load rating
C0r 17300 N Basic static load rating

Speeds

Grease 9000 min-1 Grease lubrication
Oil (Oil-bath) 12000 min-1 Oil-bath lubrication

a0 32.5 mm Load center spacings

Dimensions

da (min.) 23 mm Diameter of shaft abutment
rb (max.) 0.6 mm Radius of fillet
Db (max.) 42 mm Diameter of housing abutment
ra (max.) 1 mm Radius of shaft or housing fillet

Similar to product

7303AWDB