CM-UKFL208D1
MORE +
CLOSE +

NSK CM-UKFL208D1

Oval Flanged Units

(BRAND):NSK
(Availability):In Stock

Detailed data of

CM-UKFL208D1

Designations

CM-UKFL208D1

Included products

Bearing
Housing FL208D1 Housing

Associated products

Adapter sleeve

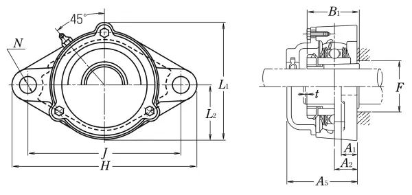
Nominal Dimensions

d 35 mm Bore diameter
L,L1 106 mm Overall height
J 144 mm Distance between attachment bolts
N 21 mm Diameter of attachment bolt hole
A2 21 mm Flange width
A1 15 mm Flange width
A5 66 mm Width including end cover
B,B1,B2 46 mm Width of inner ring
F 46 mm Diameter of housing abutment
t 3 mm Clearance
H 175 mm Overall length
L2 50 mm Height of spherical seat centre

Mounting information

G M14 Bolt size

Basic Load Ratings

Cr 29.1 kN Basic dynamic load rating
C0r 17.8 kN Basic static load rating

Similar to product

CM-UKFL208D1