CM-UKP310D1
MORE +
CLOSE +

NSK CM-UKP310D1

Pillow Block Bearing Units

(BRAND):NSK
(Availability):In Stock

Detailed data of

CM-UKP310D1

Designations

CM-UKP310D1

Included products

Bearing
Housing P310D1 Housing

Associated products

Adapter sleeve

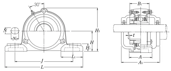
Nominal Dimensions

d 45 mm Bore diameter
N1 35 mm Length of attachment bolt hole
L 275 mm Overall length
H 75 mm Height of spherical seat centre
H3 156 mm Overall height
J 212 mm Distance between attachment bolts
N 20 mm Diameter of attachment bolt hole
A 75 mm Base width
A5 120 mm Width including end cover
t 3 mm Clearance
H1 27 mm Distance between bottoms of piloting grooves
B1 55 mm Width of inner ring
L1 75 mm Foot width
H2 143 mm Overall height

Mounting information

G M16 Bolt size

Basic Load Ratings

Cr 62 kN Basic dynamic load rating
C0r 38.5 kN Basic static load rating

Similar to product

CM-UKP310D1