53313
MORE +
CLOSE +

NSK 53313

Single-Direction Thrust Ball Bearings

(BRAND):NSK
(Availability):In Stock

Detailed data of

53313

Designations

53313

Boundary Dimensions

d 65 mm Bore diameter
D 115 mm Outside diameter
T,T3 39.4 mm Height
r (min.) 1.1 mm Chamfer dimension

Basic Load Ratings

Ca 123000 N Basic dynamic load rating
C0a 282000 N Basic static load rating

Speeds

Grease 1500 min-1 Grease lubrication
Oil (Oil-bath) 2400 min-1 Oil-bath lubrication

A 38.5 mm Centre height housing washer sphere
R 90 mm Radius sphered housing washer
d1 115 mm Outside diameter shaft washer
D1 67 mm Inner diameter housing washer

Dimensions

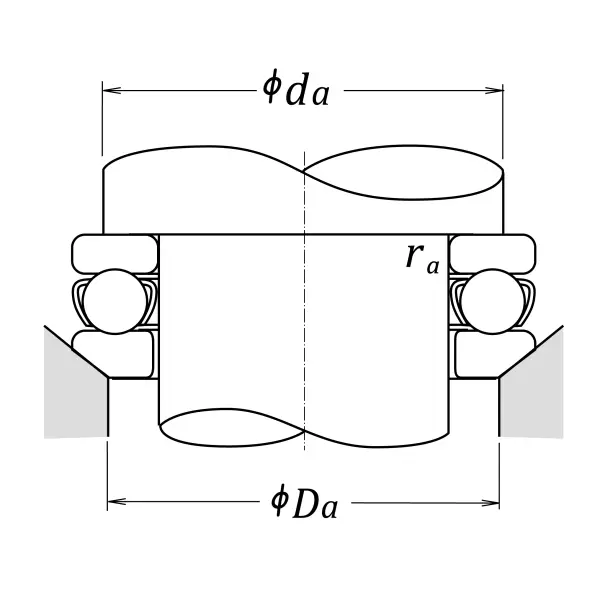
da (min.) 95 mm Diameter of shaft abutment
Da (max.) 85 mm Diameter of housing abutment
ra (max.) 1 mm Radius of shaft or housing fillet

Similar to product

53313