K155X163X36
MORE +
CLOSE +

NTN K155X163X36

Needle Roller and Cage Assemblies

(BRAND):NTN
(Availability):In Stock

Detailed data of

K155X163X36

Technical Specifications

Type Needle and Cage
Material High Carbon Chrome Steel
Cage Material Steel
Limiting Speed - Oil 2600 RPM
Limiting Speed - Grease 1700 RPM
Enclosure Open
Precision ISO Class 0
Static Load Rating 340000 N
Dynamic Load Rating 102000 N
Weight 0.355 kg

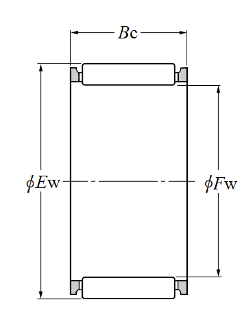
Dimensional Specifications

Fw 155.000 mm
Ew 163.000 mm
Bc 36.000 mm
Bc Tolerance -0.3/-0.65

Similar to product

K155X163X36