K18X23X20S
MORE +
CLOSE +

NTN K18X23X20S

Needle Roller and Cage Assemblies

(BRAND):NTN
(Availability):In Stock

Detailed data of

K18X23X20S

Technical Specifications

Type Needle and Cage
Material High Carbon Chrome Steel
Cage Material Welded Steel
Limiting Speed - Oil 21000 RPM
Limiting Speed - Grease 14000 RPM
Enclosure Open
Precision ISO Class 0
Static Load Rating 19300 N
Dynamic Load Rating 14600 N
Weight 0.015 kg

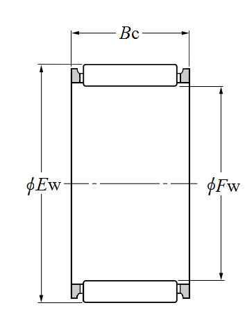
Dimensional Specifications

Fw 18.000 mm
Ew 23.000 mm
Bc 20.000 mm
Bc Tolerance -0.2/-0.55

Similar to product

K18X23X20S